
Esperar en los aeropuertos es, quizá, de las cosas más molestas en los viajes. Airbus, que no deja de sorprender con sus ideas para el desarrollo del transporte aéreo, patentó un proyecto que permite que los pasajeros no esperen en las colas en un aeropuerto pero igualmente habrá espera, no cantemos victoria.
Entre las recientes patentes de la empresa aeronáutica europea Airbus figuran unos asientos de avión reclinables con aspecto de sillín de bicicleta o colocar filas de asientos sobre las butacas convencionales, ambas medidas destinadas a ahorrar espacio y abaratar el coste de los vuelos.
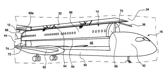
Ahora parece que la empresa podría resolver el problema de las grandes colas en el aeropuerto con un revolucionario proyecto de avión con cabina transformable.
Esta vez se trata de un modelo de cabina desmontable que incluye un suelo, una parte superior de fuselaje de aeronave que se une al suelo y una primera y una segunda pared en cada extremo que forman una cabina para el transporte de pasajeros, equipaje y carga, informa el portal Wired.
En otras palabras, la idea sugiere que los pasajeros podrían estar sentados en la cabina desmontable mientras aún están en la puerta de embarque.
Según Airbus, el concepto de cabina desmontable permitiría que los pasajeros estuvieran ya pre-sentados en las cápsulas antes de que su avión estuviese preparado para realizar el embarque.
Después, todo estaría listo para la integración de la cabina en el avión. Esto ahorría tiempo a los pasajeros, optimizaría los trámites técnicos del embarque y simplificaría todo el proceso.
Sin embargo, en un futuro cercano todavía no será posible disfrutar de esta innovación tecnológica.


No hay comentarios:
Publicar un comentario